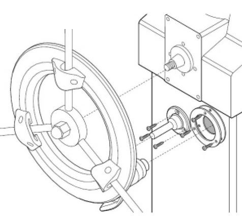
Asennussarja suoraan ruoripylvääseen, esim. GOIOT ja Lewmar. Sisältää pinnin suoraan pintaan ja moottorin läpivienti kauluksen.
Raymarine laipio asennussarja ruoripilotille
Tuotekoodi: E15017
Myymälässä: 0 kpl, TOIMITUSAIKA-ARVIO 1-3 PÄIVÄÄ Verkkokaupassa: Toimittajan varastossa. TOIMITUSAIKA-ARVIO 1-3 PÄIVÄÄ
Hinta:
99,00
€
9900
€106,68 €
10668
Määrä: kpl
Arvostele tämä tuote
Tälle tuotteelle ei ole vielä annettu arvosteluita.



